• 专利申请
    2018-01-23
  • 公布公告
    2019-09-20
  • 授权日期
    2019-09-20
  • 终止
    2029-09-17
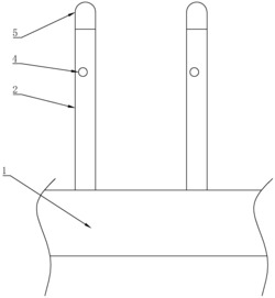
一种抗风围挡支架
一种抗风围挡支架
* 专利信息仅供参考,不具有法律效力。 有效专利
CN201810066076.2 2018-01-23 E04H17/00 {{ classMap["E04H17/00"] }}
温州大学瓯江学院 查看申请人名下所有专利
浙江省温州市瓯海经济开发区东方南路38号温州国家大学科技园
专利分类项目
专利注册信息
初审公告期号 2018-01-23 初审公告日期 2019-09-20
注册公告期号 2019-09-20 注册公告日期 2019-09-20
专用权期限 2019-09-20 - 2029-09-17 专利类型 发明授权
代理组织机构 浙江纳祺律师事务所 查看该机构代理的所有专利
专利介绍
本发明公开了一种抗风围挡支架,包括底座和固定连接在底座上的支柱,支柱上开设有收纳槽,收纳槽内设置有连接杆、中间杆、限位杆和“[”形的滑杆,限位杆上设置有若干沟槽,底座上设置有插槽,插槽相对沟槽的槽壁上设置活动板,活动板上设置有倒钩,滑杆上设置有抓地组件,设置的“[”形滑杆可以更好的对连接杆进行连接,将连接杆、中间杆和限位杆进行铰接设置,同时将滑杆滑移设置,就更加方便调节滑杆,方便滑杆调节完毕之后可以将限位杆插进插槽中,就可以限制滑杆滑动,将滑杆插在地上就可以起到支撑作用,设置沟槽和倒钩配合可以将限位杆紧紧固定在插槽中,设置的收纳槽可以更方便收纳连接杆、滑杆、中间杆和限位杆,使运输过程更方便。
法律进度
  • 2019-09-20 授权 ...

  • 2018-08-17 实质审查的生效 IPC(主分类): E04H 17/00 专利申请号: 201810066076.2 申请日: 2018. ...

  • 2018-07-24 公开 ...

同类专利

咨询该专利

您还可以
推荐专利
{{ v.name }}
取 消 确 定