• 专利申请
    2018-01-05
  • 公布公告
    2018-04-24
  • 授权日期
    2020-06-09
  • 终止
    2028-04-21
一种喷洒高度可自调的移动式农药喷洒设备
一种喷洒高度可自调的移动式农药喷洒设备
* 专利信息仅供参考,不具有法律效力。 有效专利
CN201810009589.X 2018-01-05 A01M7/00 {{ classMap["A01M7/00"] }}
蔡宜和 查看申请人名下所有专利
安徽省合肥市蜀山区习友路保利香槟国际1662
专利分类项目
专利注册信息
初审公告期号 2018-01-05 初审公告日期 2018-04-24
注册公告期号 2020-06-09 注册公告日期 2020-06-09
专用权期限 2018-04-24 - 2028-04-21 专利类型 发明公开
代理组织机构 --
专利介绍
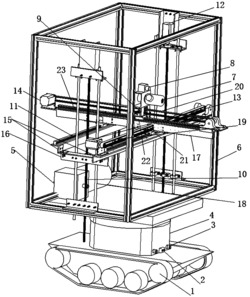
本发明提供了一种喷洒高度可自调的移动式农药喷洒设备,包括车体、第一动力传动机构、水罐、液体喷洒装置、第二动力传动机构、高度调节装置,所述的车体移动时产生旋转力并且该旋转力用于为液体喷洒装置喷洒液体提供喷洒动力,所述的第一动力传动机构用于接收喷洒动力并将喷洒动力输送至液体喷洒装置,所述的水罐安装于车体上并用于为液体喷洒装置提供液体,所述的液体喷洒装置在喷洒动力作用下喷洒液体,所述的第二动力传动机构用于接收第一动力传动机构的动力并将其传递至高度调节装置,所述的高度调节装置在动力作用下对液体喷洒装置的喷洒高度进行调节。
法律进度
  • 2020-06-09 授权 ...

  • 2020-05-19 专利申请权的转移 登记生效日: 2020.04.29 申请人由蔡宜和变更为范甬挺 地址由230022 安徽省合肥市蜀山区习友路保 ...

  • 2018-05-18 实质审查的生效 IPC(主分类): A01M 7/00 专利申请号: 201810009589.X 申请日: 2018.0 ...

  • 2018-04-24 公开 ...

同类专利

咨询该专利

您还可以
推荐专利
{{ v.name }}
取 消 确 定