• 专利申请
    2017-11-17
  • 公布公告
    2018-06-26
  • 授权日期
    2018-06-26
  • 终止
    2028-06-23
一种高速准干式切削的冷却润滑油雾化喷洒可控装置
一种高速准干式切削的冷却润滑油雾化喷洒可控装置
* 专利信息仅供参考,不具有法律效力。 有效专利
CN201721534947.6 2017-11-17 B23Q11/10 {{ classMap["B23Q11/10"] }}
湖南工业大学 查看申请人名下所有专利
湖南省株洲市天元区泰山西路88号湖南工业大学机械工程学院机械制造系216室
专利分类项目
专利注册信息
初审公告期号 2017-11-17 初审公告日期 2018-06-26
注册公告期号 2018-06-26 注册公告日期 2018-06-26
专用权期限 2018-06-26 - 2028-06-23 专利类型 实用新型
代理组织机构 --
专利介绍
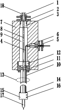
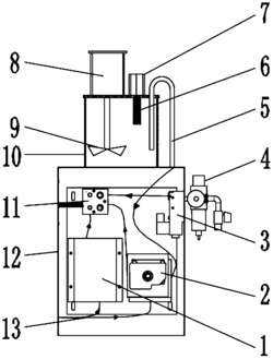
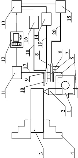
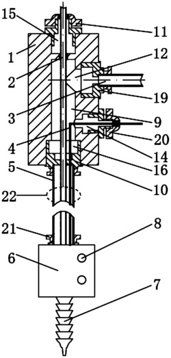
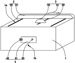
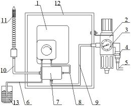
本实用新型属于机床加工技术领域,具体地公开了一种高速准干式切削的冷却润滑油雾化喷洒可控装置,包括雾化缸,汽油混合管直通快速接头,汽油混合T型接头,进气管,进油管,电磁单向阀,滤清器,回油管直通快接头,回油管,带有橡胶密封圈的活动板,输出管直通快速接头,雾化喷嘴,出油管,红外测温仪,温控开关。本实用新型采用雾化缸和雾化喷嘴等结构装置,利用高压空气使油液在雾化缸内雾化成油气混合体,再由回油管导出,使用方便,耗油量小,喷洒精度高,适用于高速铣削加工。
法律进度
  • 2018-06-26 授权 ...

同类专利

咨询该专利

您还可以
推荐专利
{{ v.name }}
取 消 确 定