• 专利申请
    2017-12-07
  • 公布公告
    2018-06-15
  • 授权日期
    2020-01-24
  • 终止
    2028-06-12
一种野外写生用多功能画板
一种野外写生用多功能画板
* 专利信息仅供参考,不具有法律效力。 有效专利
CN201711284870.6 2017-12-07 B44D3/18 {{ classMap["B44D3/18"] }}
湖南工程学院 查看申请人名下所有专利
湖南省湘潭市福星东路88号湖南工程学院
专利分类项目
专利注册信息
初审公告期号 2017-12-07 初审公告日期 2018-06-15
注册公告期号 2020-01-24 注册公告日期 2020-01-24
专用权期限 2018-06-15 - 2028-06-12 专利类型 发明公开
代理组织机构 济南旌励知识产权代理事务所 查看该机构代理的所有专利
专利介绍
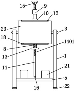
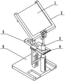
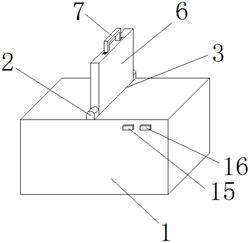
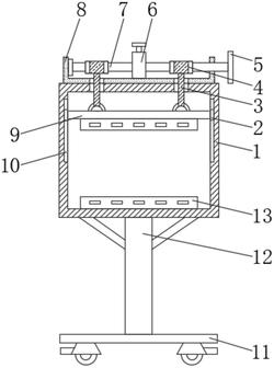
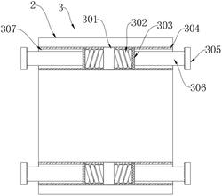
一种野外写生用多功能画板,包括顶部开口的箱体,箱体的后端铰接安装箱盖,箱体前后两端内壁分别开设第一凹槽,每条第一凹槽的中部内壁均开设竖向的第一导向槽,每条第一导向槽内配合设有导向块,每条第一凹槽内设有三个链轮,位于同一第一凹槽内的每三个链轮呈三角形排列,位于同一第一凹槽内的三个链轮通过一条链条活动连接,两块导向块的相对端分别固定安装水平杆,水平杆的前边开设透槽,每条链条的一端固定安装凸块,凸块能插入至对应的透槽内并沿透槽移动。滑块的直径大于两块长条块之间距离,固定块的直径大于两块限定块之间的距离,防止滑块移除长条槽,固定块移除插槽,进一步放置连接杆脱离插槽、长条槽,从而使结构更加稳定。
法律进度
  • 2020-01-24 授权 ...

  • 2018-07-13 实质审查的生效 IPC(主分类): B44D 3/18 专利申请号: 201711284870.6 申请日: 2017.1 ...

  • 2018-06-15 公开 ...

同类专利

咨询该专利

您还可以
推荐专利
{{ v.name }}
取 消 确 定