• 专利申请
    2017-11-20
  • 公布公告
    2018-04-27
  • 授权日期
    2020-09-11
  • 终止
    2028-04-24
一种LED灯
一种LED灯
* 专利信息仅供参考,不具有法律效力。 有效专利
CN201711152909.9 2017-11-20 F21S8/00 {{ classMap["F21S8/00"] }}
陈兴权 查看申请人名下所有专利
江苏省泰州市高港区港城路18号
专利分类项目
专利注册信息
初审公告期号 2017-11-20 初审公告日期 2018-04-27
注册公告期号 2020-09-11 注册公告日期 2020-09-11
专用权期限 2018-04-27 - 2028-04-24 专利类型 发明公开
代理组织机构 --
专利介绍
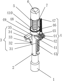
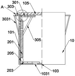
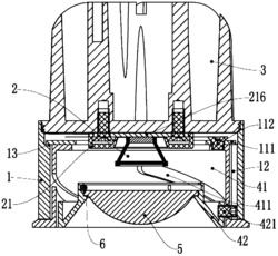
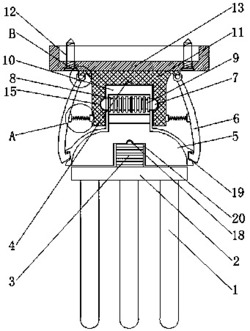
本发明提供一种LED灯,包括壳体,壳体一端设置有LED发光组件;LED发光组件包括基板和设置在基板上的灯珠,基板由上基板和下基板盖合组成,上基板和下基板的盖合面均设置有导液凹槽,上基板和下基板盖合形成内部带有导液管道的基板;壳体内部设置有空腔,壳体的另一端设置有密封件,密封件将所述壳体密封使壳体内部形成密封空间;基板端部与所述壳体一端固定连接,使所述导液管道与密封空间连通形成循环回路;密封空间中设置有叶轮;密封件外侧设置有散热风扇,散热风扇设置有第一驱动组件,对应的,叶轮设置有第二驱动组件;本发明提供一种LED灯产品,对LED灯产品的结构进行了优化,使其具有更优异的性能。
法律进度
  • 2022-11-22 专利权的转移 登记生效日: 2022.11.09 专利权人由吴盼婷变更为山西胜村光学有限公司 地址由225321 江苏省泰州 ...

  • 2020-09-11 授权 ...

  • 2020-09-08 专利申请权的转移 登记生效日: 2020.08.19 申请人由陈兴权变更为吴盼婷 地址由225321 江苏省泰州市高港区港城路1 ...

  • 2018-05-22 实质审查的生效 IPC(主分类): F21S 8/00 专利申请号: 201711152909.9 申请日: 2017.1 ...

  • 2018-04-27 公开 ...

同类专利

咨询该专利

您还可以
推荐专利
{{ v.name }}
取 消 确 定