• 专利申请
    2017-10-30
  • 公布公告
    2018-03-30
  • 授权日期
    2019-12-13
  • 终止
    2028-03-27
多功能加工装置
多功能加工装置
* 专利信息仅供参考,不具有法律效力。 有效专利
CN201711037579.9 2017-10-30 B23P23/04 {{ classMap["B23P23/04"] }}
重庆代发铸造有限公司 查看申请人名下所有专利
重庆市清平镇陵川
专利分类项目
专利注册信息
初审公告期号 2017-10-30 初审公告日期 2018-03-30
注册公告期号 2019-12-13 注册公告日期 2019-12-13
专用权期限 2018-03-30 - 2028-03-27 专利类型 发明公开
代理组织机构 重庆强大凯创专利代理事务所 查看该机构代理的所有专利
专利介绍
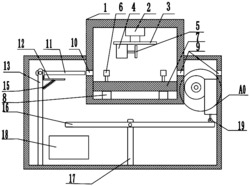
本专利公开了多功能加工装置,涉及电机零部件加工制造技术领域。多功能加工装置,包括箱体,箱体设有安装槽,安装槽设有第一电机,第一电机设有转盘,转盘设有立柱,并且转盘上设有基座和滑槽,基座与立柱之间设有弹簧;基座上设有钻孔部和打磨部,钻孔部包括固定臂和与活动臂,活动臂与基座之间设有伸缩架,活动臂设有第二电机,第二电机设有气缸,气缸设有钻头;打磨部包括固定架、磨盘、皮带和移动转轴,固定架固定在基座上,磨盘设于固定架,且磨盘上设有支撑转轴;皮带连接第二电机的输出轴和支撑转轴,固定架顶部设有移动转轴。采用本发明技术方案克服了工件钻孔和打磨时需要按工序依次加工的问题,可用于圆形或球形工件的钻孔和打磨。
法律进度
  • 2019-12-13 授权 ...

  • 2019-12-06 专利申请权的转移 登记生效日: 2019.11.15 申请人由重庆代发铸造有限公司变更为蚌埠鲲鹏食品饮料有限公司 地址由4015 ...

  • 2018-04-24 实质审查的生效 IPC(主分类): B23P 23/04 专利申请号: 201711037579.9 申请日: 2017. ...

  • 2018-03-30 公开 ...

同类专利

咨询该专利

您还可以
推荐专利
{{ v.name }}
取 消 确 定