• 专利申请
    2017-07-24
  • 公布公告
    2022-08-05
  • 授权日期
    2022-08-05
  • 终止
    2032-08-02
竹子碳化采伐机
竹子碳化采伐机
* 专利信息仅供参考,不具有法律效力。 有效专利
CN201710607910.X 2017-07-24 A01G23/087 {{ classMap["A01G23/087"] }}
浙江农林大学暨阳学院 查看申请人名下所有专利
浙江省绍兴市诸暨市暨阳街道浦阳路77号
专利分类项目
专利注册信息
初审公告期号 2017-07-24 初审公告日期 2022-08-05
注册公告期号 2022-08-05 注册公告日期 2022-08-05
专用权期限 2022-08-05 - 2032-08-02 专利类型 发明授权
代理组织机构 福州市鼓楼区京华专利事务所 查看该机构代理的所有专利
专利介绍
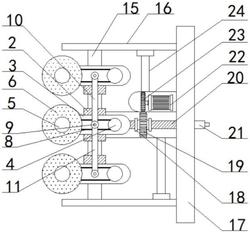
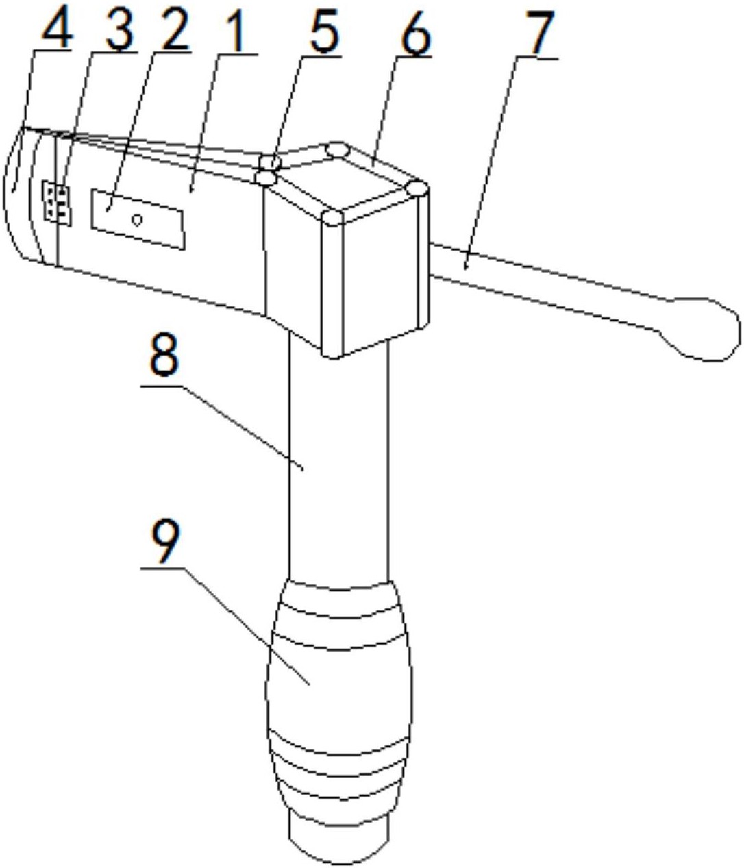
本发明提供了一种竹子碳化采伐机,包括汽油发电机、电烙铁和伸缩刀具,所述电烙铁与汽油发电机电性连接,所述伸缩刀具邻近电烙铁设置。本发明能够在密度较大且无序生长的竹林内进行伐竹作业,实现竹子的批量化的采伐,操控技术要求低,降低工作者劳动强度,并且在伐竹时不对竹材造成浪费。
法律进度
  • 2022-08-05 授权 ...

  • 2017-11-17 实质审查的生效 IPC(主分类): A01G 23/087 专利申请号: 201710607910.X 申请日: 2017 ...

  • 2017-10-20 公开 ...

同类专利

咨询该专利

您还可以
推荐专利
{{ v.name }}
取 消 确 定