• 专利申请
    2017-05-05
  • 公布公告
    2023-02-28
  • 授权日期
    2023-02-28
  • 终止
    2033-02-25
水雾喷泉系统及其形成方法
水雾喷泉系统及其形成方法
* 专利信息仅供参考,不具有法律效力。 有效专利
CN201710312063.4 2017-05-05 B05B17/08 {{ classMap["B05B17/08"] }}
福建省雾精灵环境科技有限公司 查看申请人名下所有专利
福建省泉州市经济技术开发区高新技术孵化基地创业楼1号楼附属楼第四层
专利分类项目
专利注册信息
初审公告期号 2017-05-05 初审公告日期 2023-02-28
注册公告期号 2023-02-28 注册公告日期 2023-02-28
专用权期限 2023-02-28 - 2033-02-25 专利类型 发明授权
代理组织机构 泉州市文华专利代理有限公司 查看该机构代理的所有专利
专利介绍
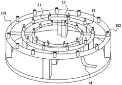
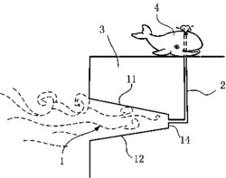
本发明公开的水雾喷泉系统包括造雾装置和喷泉装置,造雾装置包括造雾生成结构,及设置在造雾生成结构的输出端口的多个雾化喷头;喷泉装置包括喷泉喷头、供水部和供气部,供水部和供气部输出端口连接多个喷泉喷头,多个雾化喷头间隔排列,各雾化喷头连接有能依序启闭各雾化喷头的喷雾控制阀,设雾化喷头为N个,N个喷雾控制阀的启闭间隔为1/N秒;多个喷泉喷头间隔排列,各喷泉喷头连接有能依序启闭各喷泉喷头的喷泉控制阀,设喷泉喷头为N个,N个喷泉控制阀的启闭间隔为1/N秒。本发明还公开了水雾喷泉系统形成方法。采用本发明可产生跑动的喷雾、喷泉,提高降温降尘效果,针对各类室外景观,可满足不同环境及趣味景观的造雾、喷泉需求。
法律进度
  • 2024-04-19 专利权的转移 登记生效日: 2024.04.03 专利权人由福建鑫骉科技有限公司变更为北京筑方舟科技有限公司 国家或地区由中 ...

  • 2023-05-09 专利权的转移 登记生效日: 2023.04.25 专利权人由福建省雾精灵环境科技有限公司变更为福建鑫骉科技有限公司 地址由3 ...

  • 2023-02-28 授权 ...

  • 2017-12-01 实质审查的生效 IPC(主分类): B05B 17/08 专利申请号: 201710312063.4 申请日: 2017. ...

  • 2017-11-07 公开 ...

同类专利

咨询该专利

您还可以
推荐专利
{{ v.name }}
取 消 确 定