• 专利申请
    2017-04-28
  • 公布公告
    2017-07-07
  • 授权日期
    2018-03-30
  • 终止
    2027-07-05
多喷头自动切换系统
多喷头自动切换系统
* 专利信息仅供参考,不具有法律效力。 有效专利
CN201710292095.2 2017-04-28 B29C64/209 {{ classMap["B29C64/209"] }}
六安永贞匠道机电科技有限公司 查看申请人名下所有专利
安徽省六安市经济技术开发区金凤凰财富广场2幢75室
专利分类项目
专利注册信息
初审公告期号 2017-04-28 初审公告日期 2017-07-07
注册公告期号 2018-03-30 注册公告日期 2018-03-30
专用权期限 2017-07-07 - 2027-07-05 专利类型 发明公开
代理组织机构 --
专利介绍
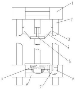
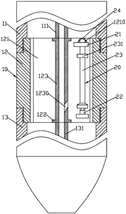
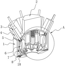
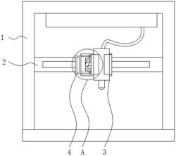
本发明公布了多喷头自动切换系统,其包括支撑体、活动安装于支撑体并且可绕自身轴线转动的喷头切换机构、支撑体上还设置有用于驱动喷头切换机构旋转的电机;喷头切换机构包括旋转座,旋转座的上端面与支撑体活动连接并且可绕自身轴线转动,旋转座的下端面上安装有若干个沿其圆周方向均匀间隔排列的喷头,旋转座的上端面还设置有若干个沿其圆周方向均匀间隔排列的导料孔,导料孔的数目与喷头的数目相同并且导料孔的内腔与喷头的内腔以一一对应的方式进行接通;喷头的中心轴线与旋转座的中心轴线所在的平面为分隔面,相邻的分隔面之间的夹角相同,旋转座每次旋转的角度为相邻的分隔面之间的夹角的整数倍。
法律进度
  • 2018-03-30 授权 ...

  • 2017-08-01 实质审查的生效 IPC(主分类): B29C 64/209 专利申请号: 201710292095.2 申请日: 2017 ...

  • 2017-07-07 公开 ...

同类专利

咨询该专利

您还可以
推荐专利
{{ v.name }}
取 消 确 定