• 专利申请
    2017-03-17
  • 公布公告
    2020-06-16
  • 授权日期
    2020-06-16
  • 终止
    2030-06-14
一种均衡化土壤保湿控制方法及其系统
一种均衡化土壤保湿控制方法及其系统
* 专利信息仅供参考,不具有法律效力。 有效专利
CN201710164056.4 2017-03-17 A01G25/16 {{ classMap["A01G25/16"] }}
湖南农业大学 查看申请人名下所有专利
湖南省长沙市芙蓉区农大路1号
专利分类项目
专利注册信息
初审公告期号 2017-03-17 初审公告日期 2020-06-16
注册公告期号 2020-06-16 注册公告日期 2020-06-16
专用权期限 2020-06-16 - 2030-06-14 专利类型 发明授权
代理组织机构 长沙朕扬知识产权代理事务所 查看该机构代理的所有专利
专利介绍
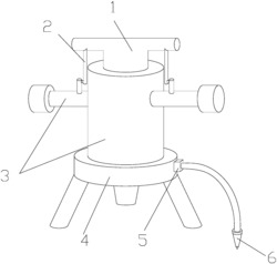
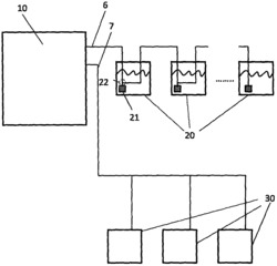
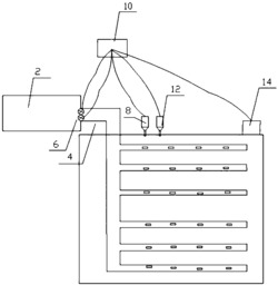
本发明提供了一种均衡化土壤保湿控制方法及其系统,以实现均衡化灌溉。本发明的阀门控制单元设置所有阀门打开的启动湿度和关闭的停止湿度;土壤湿度检测单元获取同一片土壤不同区域的湿度值,若区域土壤湿度值小于阀门的启动湿度,阀门控制单元控制对应阀门打开对当前区域土壤喷水,反之阀门关闭停止对当前区域土壤喷水;数据集中单元获取各个区域阀门打开到关闭的喷水时间并计算喷水前后的土壤湿度差;数据校正单元根据各个区域的土壤湿度差和喷水时间得到整片土壤的平均湿度变化率、湿度修正增值和修正值系数;数据校正单元将土壤湿度检测单元实测得到的土壤湿度经过修正值系数修正后输出至阀门控制单元作为下一次阀门开启的湿度值指标。
法律进度
  • 2020-06-16 授权 ...

  • 2017-08-04 实质审查的生效 IPC(主分类): A01G 25/16 专利申请号: 201710164056.4 申请日: 2017. ...

  • 2017-07-11 公开 ...

同类专利

咨询该专利

您还可以
推荐专利
{{ v.name }}
取 消 确 定