• 专利申请
    2016-12-27
  • 公布公告
    2018-07-03
  • 授权日期
    2020-09-08
  • 终止
    2028-06-30
支撑阻水电源接线盒结构
支撑阻水电源接线盒结构
* 专利信息仅供参考,不具有法律效力。 有效专利
CN201611229240.4 2016-12-27 H02G3/08 {{ classMap["H02G3/08"] }}
天津元基科技有限公司 查看申请人名下所有专利
天津市河西区环湖西路7号228
专利分类项目
专利注册信息
初审公告期号 2016-12-27 初审公告日期 2018-07-03
注册公告期号 2020-09-08 注册公告日期 2020-09-08
专用权期限 2018-07-03 - 2028-06-30 专利类型 发明公开
代理组织机构 天津津专知识产权代理事务所 查看该机构代理的所有专利
专利介绍
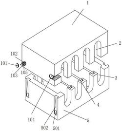
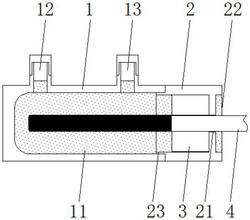
本发明提供了一种支撑阻水电源接线盒结构,其包括接线盒、内源盒和置线板;接线盒的内腔腔壁上设有限位柱,在所述限位柱的底部设有隔离柱,所述隔离柱的直径大于所述限位柱的直径,所述内源盒的外壁上开有与限位柱滑动配合的限位滑槽,内源盒通过限位柱定位在接线盒内腔的一侧且由所述隔离柱支撑。本发明可以将置于接线盒内的导线全部与接线盒的腔底分离开,这样做的好处则是在接线盒内进水之后依然可以与雨水分离开,那么即使不定期检修接线盒都不会造成严重的事故。
法律进度
  • 2022-09-02 专利权的转移 登记生效日: 2022.08.22 专利权人由隗阳变更为海燕接线盒有限公司 地址由225300 江苏省泰州市高 ...

  • 2020-09-08 授权 ...

  • 2020-09-01 专利申请权的转移 登记生效日: 2020.08.13 申请人由天津元基科技有限公司变更为隗阳 地址由300000 天津市河西区环 ...

  • 2018-07-27 实质审查的生效 IPC(主分类): H02G 3/08 专利申请号: 201611229240.4 申请日: 2016.1 ...

  • 2018-07-03 公开 ...

同类专利

咨询该专利

您还可以
推荐专利
{{ v.name }}
取 消 确 定