• 专利申请
    2016-12-09
  • 公布公告
    2017-03-22
  • 授权日期
    2018-12-07
  • 终止
    2027-03-20
一种衣服对折装置
一种衣服对折装置
* 专利信息仅供参考,不具有法律效力。 有效专利
CN201611128640.6 2016-12-09 B65B63/04 {{ classMap["B65B63/04"] }}
叶淦和 查看申请人名下所有专利
广东省广州市增城区新塘镇大敦村曲东三巷13号
专利分类项目
专利注册信息
初审公告期号 2016-12-09 初审公告日期 2017-03-22
注册公告期号 2018-12-07 注册公告日期 2018-12-07
专用权期限 2017-03-22 - 2027-03-20 专利类型 发明公开
代理组织机构 广州市华学知识产权代理有限公司 查看该机构代理的所有专利
专利介绍
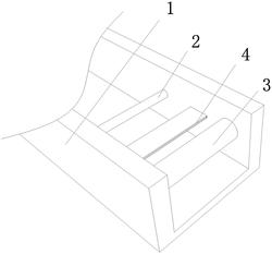
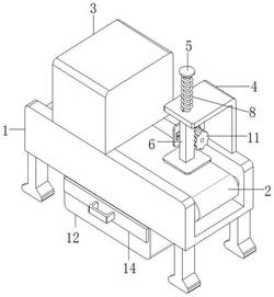
本发明公开了一种衣服对折装置,包括第一输送机构、与第一输送机构过渡连接的第二输送机构以及位于第一输送机构和第二输送机构之间的升降机构,所述第一输送机构包括第一输送带以及驱动第一输送带运动的第一驱动机构;所述第二输送机构包括第二输送带以及驱动第二输送带运动的第二驱动机构;所述升降机构包括设置在第一输送带末端和第二输送始端之间的升降杆和驱动升降杆上下运动的第三驱动机构,所述升降杆沿着第一输送机构和第二输送机构的输送方向的垂直方向延伸,当所述升降杆将衣服顶起时,该升降杆的下方具有允许衣服从第一输送带运动到第二输送带上的通道。该衣服对折装置能够将衣服沿着其上中线进行准确对折,对折效果好。
法律进度
  • 2018-12-07 授权 ...

  • 2018-11-13 专利申请权的转移 登记生效日: 2018.10.25 申请人由叶淦和变更为新诚达时装(安徽)有限公司 地址由511340 广东省 ...

  • 2017-04-19 实质审查的生效 IPC(主分类): B65B 63/04 专利申请号: 201611128640.6 申请日: 2016. ...

  • 2017-03-22 公开 ...

同类专利

咨询该专利

您还可以
推荐专利
{{ v.name }}
取 消 确 定