• 专利申请
    2016-11-28
  • 公布公告
    2018-10-19
  • 授权日期
    2018-10-19
  • 终止
    2028-10-16
精密裁板锯收尘装置
精密裁板锯收尘装置
* 专利信息仅供参考,不具有法律效力。 有效专利
CN201611065684.9 2016-11-28 B27G3/00 {{ classMap["B27G3/00"] }}
重庆汇升套装门有限公司 查看申请人名下所有专利
重庆市长寿区新市街道政府办公大楼第二楼2-09#
专利分类项目
专利注册信息
初审公告期号 2016-11-28 初审公告日期 2018-10-19
注册公告期号 2018-10-19 注册公告日期 2018-10-19
专用权期限 2018-10-19 - 2028-10-16 专利类型 发明授权
代理组织机构 重庆强大凯创专利代理事务所 查看该机构代理的所有专利
专利介绍
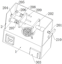
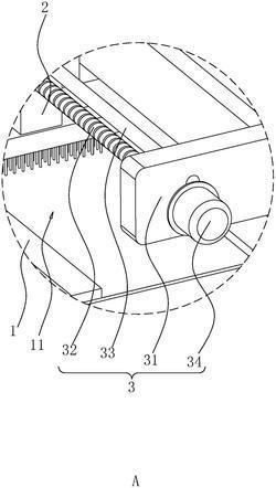
本发明公开了一种精密裁板锯防护集尘装置,包括防护罩壳、清尘机构、支架,所述支架与防护罩壳一侧固定连接;防护罩壳内部设有隔板,隔板使防护罩的内部上侧形成一个空腔,隔板上设有与空腔连通的进气口和出气口;空腔内设有过滤网,出气口处安装有气体传输泵,气体传输泵的吸气端与空腔连通;清尘机构包括刮扇和支杆,刮扇和支杆转动连接,支杆固定在隔板上,刮扇和支杆均设有连通的腔道;隔板内设有腔体,气体传输泵的设有支管,支管与腔体的上部连通,腔道与腔体的下部连通。与现有技术相比,本装置能有效的收集精密裁板锯使用过程中产生的木屑飞尘,防止了木屑飞尘给加工带来的不良影响和安全隐患。
法律进度
  • 2018-10-19 授权 ...

  • 2017-06-23 实质审查的生效 IPC(主分类): B27G 3/00 专利申请号: 201611065684.9 申请日: 2016.1 ...

  • 2017-05-31 公开 ...

同类专利

咨询该专利

您还可以
推荐专利
{{ v.name }}
取 消 确 定