• 专利申请
    2016-11-15
  • 公布公告
    2019-05-10
  • 授权日期
    2019-05-10
  • 终止
    2029-05-07
一种饮水装置
一种饮水装置
* 专利信息仅供参考,不具有法律效力。 有效专利
CN201611001448.0 2016-11-15 C02F9/10 {{ classMap["C02F9/10"] }}
孙健春 查看申请人名下所有专利
江苏省泰州市姜堰区人民中路216号
专利分类项目
专利注册信息
初审公告期号 2016-11-15 初审公告日期 2019-05-10
注册公告期号 2019-05-10 注册公告日期 2019-05-10
专用权期限 2019-05-10 - 2029-05-07 专利类型 发明授权
代理组织机构 --
专利介绍
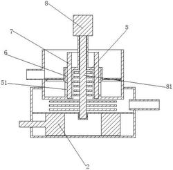
本发明涉及一种饮水装置,通过对具体结构的设置,可以输出开水、温水和直饮凉水。通过内部具体结构的设置,使得热水在保温过程中将温度传输给部分凉水,从而通过热交换使得部分凉水和部分开水都合并为温水可以直接饮用,从而避免了饮水装置在不输出开水的时间内导致热量传输给空气从而导致热量白白损耗情况的发生。通过对其中净化系统进行改进,使得净化效果更加明显,净化之后的水可以直饮。
法律进度
  • 2019-05-10 授权 ...

  • 2019-05-03 专利申请权的转移 登记生效日: 2019.04.12 申请人由冯路亭变更为孙健春 地址由266555 山东省青岛市黄岛区峨眉山路 ...

  • 2017-03-01 实质审查的生效 IPC(主分类): C02F 9/10 专利申请号: 201611001448.0 申请日: 2016.1 ...

  • 2017-01-25 公开 ...

同类专利

咨询该专利

您还可以
推荐专利
{{ v.name }}
取 消 确 定