• 专利申请
    2016-08-25
  • 公布公告
    2017-01-04
  • 授权日期
    2018-12-04
  • 终止
    2027-01-02
一种减震型胶囊粉碎机构
一种减震型胶囊粉碎机构
* 专利信息仅供参考,不具有法律效力。 有效专利
CN201610720415.5 2016-08-25 B02C18/08 {{ classMap["B02C18/08"] }}
王辉 查看申请人名下所有专利
浙江省绍兴市新昌县儒岙镇黄泥丘村后坂150号
专利分类项目
专利注册信息
初审公告期号 2016-08-25 初审公告日期 2017-01-04
注册公告期号 2018-12-04 注册公告日期 2018-12-04
专用权期限 2017-01-04 - 2027-01-02 专利类型 发明公开
代理组织机构 --
专利介绍
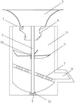
本发明涉及一种减震型胶囊粉碎机构,包括减震机构,减震机构具有良好的减震效果,所述减震机构的上端面安装有胶囊粉碎装置,胶囊粉碎装置可以实现不合格胶囊的自动粉碎再利用功能;所述减震机构包括下减震台,下减震台的上端面沿轴线方向均匀安装有四个减震支链,四个减震支链的顶端安装在上减震台的下端面上,由于四个减震支链均匀分布在下减震台和上减震台之间,从而使得减震机构对胶囊粉碎装置起到均匀的减震功能;所述减震支链包括安装在下减震台上的下耳座,下耳座之间通过销轴安装有T型支块,T型支块的上端焊接有阶梯,阶梯轴上设置有轴肩,阶梯轴的顶端伸入伸缩筒内部。本发明可以实现不合格胶囊稳定的自动粉碎再利用功能。
法律进度
  • 2020-12-25 专利权的转移 登记生效日: 2020.12.15 专利权人由王辉变更为山东钧策科技服务有限公司 地址由312500 浙江省绍 ...

  • 2018-12-04 授权 ...

  • 2017-02-01 实质审查的生效 IPC(主分类): B02C 18/08 专利申请号: 201610720415.5 申请日: 2016. ...

  • 2017-01-04 公开 ...

同类专利
  • 一种鱼虾粉碎装置及利用该装置加工鱼露的方法

  • 一种兽药中草药原料研磨装置

咨询该专利

您还可以
推荐专利
{{ v.name }}
取 消 确 定