• 专利申请
    2016-08-08
  • 公布公告
    2018-09-18
  • 授权日期
    2018-09-18
  • 终止
    2028-09-15
一种锯条压合机构及应用其的装订机
一种锯条压合机构及应用其的装订机
* 专利信息仅供参考,不具有法律效力。 有效专利
CN201610643373.X 2016-08-08 B31B50/74 {{ classMap["B31B50/74"] }}
张家港爱铝铝箔科技有限公司 查看申请人名下所有专利
江苏省苏州市张家港市杨舍镇城南村
专利分类项目
专利注册信息
初审公告期号 2016-08-08 初审公告日期 2018-09-18
注册公告期号 2018-09-18 注册公告日期 2018-09-18
专用权期限 2018-09-18 - 2028-09-15 专利类型 发明授权
代理组织机构 北京超凡志成知识产权代理事务所 查看该机构代理的所有专利
专利介绍
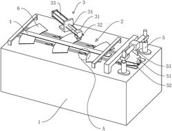
本发明公开一种锯条压合机构及应用其的装订机,涉及装订设备技术领域,以改善现有技术中锯条固定不稳,安装效率低的技术问题。本发明提供的锯条压合机构包括:上压合组件、下压合组件及与下压合组件连接的驱动组件;上、下压合组件之间间隔设置;上压合组件包括第一冲针和退料板,下压合组件包括第二冲针;使用时,将纸盒伸入上、下压合组件之间,驱动组件带动下压合组件上移,锯条原材同时上移,下压合组件接触上压合组件完成压合动作;同时第一冲针在锯条原材上冲孔并完成切断锯条原材的动作;然后退料板将纸盒与第一冲针分离,第二冲针将剩余的锯条原材退回待工作位置。本发明主要应用于锯条压合机构及应用其的装订机的生产制造中。
法律进度
  • 2019-12-03 专利权的转移 登记生效日: 2019.11.13 专利权人由张家港爱铝铝箔科技有限公司变更为江苏绿源健康铝箔科技有限公司 地 ...

  • 2018-09-18 授权 ...

  • 2016-12-14 实质审查的生效 IPC(主分类): B31B 1/74 专利申请号: 201610643373.X 申请日: 2016.0 ...

  • 2016-11-16 公开 ...

同类专利

咨询该专利

您还可以
推荐专利
{{ v.name }}
取 消 确 定