• 专利申请
    2016-07-08
  • 公布公告
    2019-02-05
  • 授权日期
    2019-02-05
  • 终止
    2029-02-02
一种缓速器和包括该缓速器的无级缓速卸载装置
一种缓速器和包括该缓速器的无级缓速卸载装置
* 专利信息仅供参考,不具有法律效力。 有效专利
CN201610533975.X 2016-07-08 B66C1/10 {{ classMap["B66C1/10"] }}
湖南师范大学 查看申请人名下所有专利
湖南省长沙市岳麓区麓山路36号
专利分类项目
专利注册信息
初审公告期号 2016-07-08 初审公告日期 2019-02-05
注册公告期号 2019-02-05 注册公告日期 2019-02-05
专用权期限 2019-02-05 - 2029-02-02 专利类型 发明授权
代理组织机构 --
专利介绍
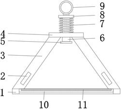
一种缓速器和包括该缓速器的无级缓速卸载装置,该缓速器包括弧形轨道,弧形轨道内设有滑动件,滑动件可沿弧形轨道运动,滑动件沿弧形轨道下滑的过程中,滑动件与弧形轨道之间的接触压力在竖直方向的分量逐渐变小。该无级缓速卸载装置包括缓速器、固定装置和重坠装置,固定装置位于缓速器的上方,固定装置与缓速器相连;缓速器位于重坠装置的上方,缓速器与重坠装置相连,缓速器的滑动件沿弧形轨道向下滑动的过程中,悬吊固定装置的拉力逐渐变小。本发明可实现重坠装置的无级缓慢释放,无需使用电控、液压系统,可靠性高。
法律进度
  • 2019-02-05 授权 ...

  • 2019-01-11 专利申请权的转移 登记生效日: 2018.12.24 申请人由长沙云成智能科技有限公司变更为湖南师范大学 地址由410199 湖 ...

  • 2016-11-09 实质审查的生效 IPC(主分类): B66C 1/10 专利申请号: 201610533975.X 申请日: 2016.0 ...

  • 2016-10-12 公开 ...

同类专利

咨询该专利

您还可以
推荐专利
{{ v.name }}
取 消 确 定