• 专利申请
    2015-11-17
  • 公布公告
    2016-08-10
  • 授权日期
    2016-08-10
  • 终止
    2026-08-08
真像点多维度显示器及其组件
真像点多维度显示器及其组件
* 专利信息仅供参考,不具有法律效力。 有效专利
CN201520917693.0 2015-11-17 G09F9/33 {{ classMap["G09F9/33"] }}
上海聚然智能科技有限公司 查看申请人名下所有专利
上海市闵行区虹梅南路1755号一幢一层ED1099室
专利分类项目
专利注册信息
初审公告期号 2015-11-17 初审公告日期 2016-08-10
注册公告期号 2016-08-10 注册公告日期 2016-08-10
专用权期限 2016-08-10 - 2026-08-08 专利类型 实用新型
代理组织机构 上海精晟知识产权代理有限公司 查看该机构代理的所有专利
专利介绍
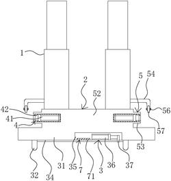
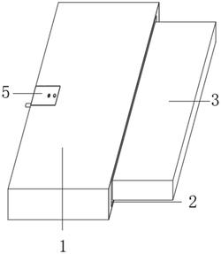
真像点多维度显示器及其组件,涉及电子技术领域,具体涉及显示技术领域。透明显示面板层,包括一透明基板,透明基板上方设有一组包含有至少10条横向电极的横向电极阵列;透明基板上方还设有一组包含有至少10条纵向电极的纵向电极阵列;横向电极与纵向电极存在交错,且在交错处设置绝缘层,使横向电极与纵向电极在交错处绝缘;还包括至少100个LED颗粒,LED颗粒包括两个电极,一个电极连接一横向电极,另一个电极连接一纵向电极。相对于原有的OLED生产工艺更加简单,成品率更高,更加易于大屏化。
法律进度
  • 2016-08-10 授权 ...

同类专利

咨询该专利

您还可以
推荐专利
{{ v.name }}
取 消 确 定