• 专利申请
    2015-12-28
  • 公布公告
    2018-03-27
  • 授权日期
    2018-03-27
  • 终止
    2028-03-24
一种快速检测土壤中乙草胺残留的方法及检测装置
一种快速检测土壤中乙草胺残留的方法及检测装置
* 专利信息仅供参考,不具有法律效力。 有效专利
CN201510996149.4 2015-12-28 G01N27/26 {{ classMap["G01N27/26"] }}
扬州工业职业技术学院 查看申请人名下所有专利
江苏省扬州市华扬西路199号
专利分类项目
专利注册信息
初审公告期号 2015-12-28 初审公告日期 2018-03-27
注册公告期号 2018-03-27 注册公告日期 2018-03-27
专用权期限 2018-03-27 - 2028-03-24 专利类型 发明授权
代理组织机构 扬州苏中专利事务所 查看该机构代理的所有专利
专利介绍
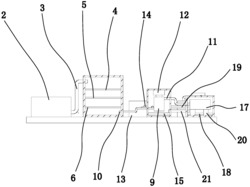
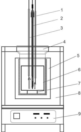
一种快速检测土壤中乙草胺残留的方法,包括以下步骤:a、制作乙草胺浓度与电流的线性关系图。将工作电极、参比电极和辅助电极分别放入电解池中;电解池下方设置卤素灯光光源;在偏置电位为0V的条件下,卤素灯光光源自电解池下方向上对乙草胺电解液进行照射,分别测量得到不同已知浓度的乙草胺溶液的光电流信号值;制作乙草胺浓度与抑制光电流的线性关系图。b、测量待测的乙草胺溶液的光电流信号值,计算出测试样品中乙草胺浓度。一种快速检测土壤中乙草胺残留的装置,包括电化学工作站、光源、电解池、工作电极、参比电极和辅助电极。本发明检测成本低、自动化程度高、操作简便和取样量小,耗时短。
法律进度
  • 2018-03-27 授权 ...

  • 2016-06-01 实质审查的生效 IPC(主分类): G01N 27/26 专利申请号: 201510996149.4 申请日: 2015. ...

  • 2016-05-04 公开 ...

同类专利
  • 一种用于流动体系分析的安培型电化学检测器

  • 一种快速检测土壤中烯草酮农药残留的方法

  • 利用高温催化测定水体中有机氟浓度的方法

  • 一种酒精测试器

  • 一种苯二酚同分异构体间苯二酚和对苯二酚的鉴别方法

  • 一种芳香族同分异构体2‑羟基苯甲酸和3‑羟基苯甲酸鉴别方法

  • 一种基于浓差电池的水体重金属污染监测方法及装置

  • 一种石墨烯量子点修饰的金属卟啉纳米管-硫化镉复合光敏传感材料的制备方法

  • 一种硒、硫掺杂石墨烯量子点修饰金属卟啉纳米管光敏传感材料的制备方法

  • 一种纳米铜修饰的金属卟啉纳米管-硫化镉纳米片复合光敏传感材料的制备方法

  • 一种基于花粉的植物亲缘关系鉴定方法

  • 双识别型毒死蜱传感器的制备、检测蔬菜中毒死蜱残留的方法及检测装置

咨询该专利

您还可以
推荐专利
{{ v.name }}
取 消 确 定