• 专利申请
    2015-06-28
  • 公布公告
    2018-12-21
  • 授权日期
    2018-12-21
  • 终止
    2028-12-18
一种采用超声波进行上下震动的电动板刷
一种采用超声波进行上下震动的电动板刷
* 专利信息仅供参考,不具有法律效力。 有效专利
CN201510361150.X 2015-06-28 A46B13/02 {{ classMap["A46B13/02"] }}
泰州市津专知识产权服务有限公司 查看申请人名下所有专利
江苏省泰州市高港区科创园创业大道北侧
专利分类项目
专利注册信息
初审公告期号 2015-06-28 初审公告日期 2018-12-21
注册公告期号 2018-12-21 注册公告日期 2018-12-21
专用权期限 2018-12-21 - 2028-12-18 专利类型 发明授权
代理组织机构 --
专利介绍
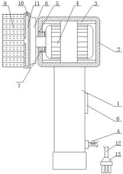
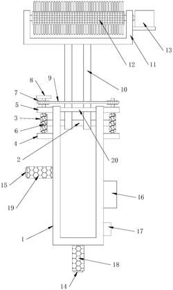
一种采用超声波进行上下震动的电动板刷,包括板刷本体、电池、超声波震动模块和电路板;所述的板刷本体包括壳体和清洁头;所述的壳体上有一弧形握柄,所述电池、超声波震动模块和电路板设在所述壳体上部;电池通过电路板连接超声波震动模块为超声波震动模块供电;所述的清洁头通过弹簧连接到壳体顶部;所述的弧形握柄上设置有控制超声波震动模块是否工作的开关。
法律进度
  • 2018-12-21 授权 ...

  • 2018-11-27 专利申请权的转移 登记生效日: 2018.11.07 申请人由龙文凯变更为泰州市津专知识产权服务有限公司 地址由650200 云 ...

  • 2015-11-11 实质审查的生效 IPC(主分类): A46B 13/02 专利申请号: 201510361150.X 申请日: 2015. ...

  • 2015-10-07 公开 ...

同类专利

咨询该专利

您还可以
推荐专利
{{ v.name }}
取 消 确 定