• 专利申请
    2015-04-02
  • 公布公告
    2017-07-28
  • 授权日期
    2017-07-28
  • 终止
    2027-07-26
一种NFC手机电子锁门禁装置系统
一种NFC手机电子锁门禁装置系统
* 专利信息仅供参考,不具有法律效力。 有效专利
CN201510153692.8 2015-04-02 G07C9/00 {{ classMap["G07C9/00"] }}
苏州大学 查看申请人名下所有专利
江苏省苏州市工业园区仁爱路199号
专利分类项目
专利注册信息
初审公告期号 2015-04-02 初审公告日期 2017-07-28
注册公告期号 2017-07-28 注册公告日期 2017-07-28
专用权期限 2017-07-28 - 2027-07-26 专利类型 发明授权
代理组织机构 南京经纬专利商标代理有限公司 查看该机构代理的所有专利
专利介绍
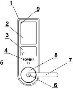
本发明是一种NFC手机电子锁门禁装置系统,该系统包括室外部分、室内部分、电子锁体和控制系统,所述室外部分正面依次设置二维码扫描区、NFC扫描区、门开指示灯、低电量指示灯、防钻圈、锁头以及外执手,室外部分左侧设置应急电池接口柱,所述电子锁体侧面设置两个锁舌,所述室内部分正面设置有AA电池仓,AA电池仓下端依次设置内置报警器、设定键、音量调节开关以及自动/手动锁门切换开关,室内部分正面底部设置有门关指示灯、反锁开关以及内执手。本发明功能多样,可以使用手机NFC配对方式开门、手机二维码扫描方式开门、机械钥匙系统开门,具有操作简单、智能性高、安全性高等优点。
法律进度
  • 2022-12-13 专利权的转移 登记生效日: 2022.11.30 专利权人由苏州市信睦知识产权服务有限公司变更为临沂轶群包装制品有限公司 地 ...

  • 2019-12-24 专利权的转移 登记生效日: 2019.12.04 专利权人由苏州大学变更为苏州市信睦知识产权服务有限公司 地址由215000 ...

  • 2017-07-28 授权 ...

  • 2015-08-12 实质审查的生效 IPC(主分类): G07C 9/00 专利申请号: 201510153692.8 申请日: 2015.0 ...

  • 2015-07-15 公开 ...

同类专利
  • 一种公交车客运量的检测与获取方法

  • 一种基于触摸屏与PLC的智能钥匙柜

  • 一种利用光信号开锁的装置和方法

  • 一种基于移动终端的门锁控制方法及门锁控制系统

  • 一种声波锁系统及自动解锁的方法

  • 一种基于Wifi充电的门锁装置

  • 一种钥匙分配系统以及钥匙分配收发的方法

  • 一种房门值守系统和基于优先级的即时声音回应方法

  • 一种夜间非接触式门禁系统的控制方法及系统

  • 基于射频交互的交通设备开锁方法

  • 智能锁的数据管理方法、装置、设备、系统及存储介质

  • 一种可自动清理水渍的指纹密码锁触屏结构

咨询该专利

您还可以
推荐专利
{{ v.name }}
取 消 确 定