• 专利申请
    2014-07-11
  • 公布公告
    2014-11-12
  • 授权日期
    2017-11-10
  • 终止
    2024-11-09
一种密炼机渐开线形转子
一种密炼机渐开线形转子
* 专利信息仅供参考,不具有法律效力。 有效专利
CN201410332470.8 2014-07-11 B29B7/22 {{ classMap["B29B7/22"] }}
徐州工业职业技术学院 查看申请人名下所有专利
江苏省徐州市九里区襄王路1号
专利分类项目
专利注册信息
初审公告期号 2014-07-11 初审公告日期 2014-11-12
注册公告期号 2017-11-10 注册公告日期 2017-11-10
专用权期限 2014-11-12 - 2024-11-09 专利类型 发明公开
代理组织机构 徐州市三联专利事务所 查看该机构代理的所有专利
专利介绍
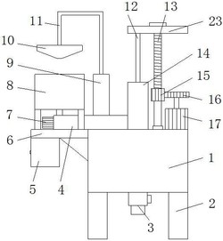
本发明公开了一种密炼机渐开线形转子,包括转子基体(1),在转子基体表面一次成型有长螺旋凸棱(2)和短螺旋凸棱(3),所述转子基体、长螺旋凸棱和短螺旋凸棱组成的转子的任意处横截面的外轮廓线由转子基圆(9)的圆弧、渐开线形转子凸棱工作面(5)、直线或内凹曲线转子凸棱非工作面(7)和圆弧过渡线(6)组成。渐开线形转子不仅适用于橡胶、塑料行业,还适用于轻工、化工、建材、循环利用等行业的各种物料的混合、搅拌和破碎,尤其是用于高填充补强物料、特别是是高填充二氧化硅物料其技术优势更加明显。
法律进度
  • 2017-11-10 授权 ...

  • 2014-12-10 实质审查的生效 IPC(主分类): B29B 7/22 专利申请号: 201410332470.8 申请日: 2014.0 ...

  • 2014-11-12 公开 ...

同类专利
  • 一种具备定量上料功能的橡胶工业生产加工用密炼机

咨询该专利

您还可以
推荐专利
{{ v.name }}
取 消 确 定