• 专利申请
    2014-01-27
  • 公布公告
    2019-12-13
  • 授权日期
    2019-12-13
  • 终止
    2029-12-10
一种隧道代理方法
一种隧道代理方法
* 专利信息仅供参考,不具有法律效力。 有效专利
CN201410039371.0 2014-01-27 H04L12/24 {{ classMap["H04L12/24"] }}
上海斐讯数据通信技术有限公司 查看申请人名下所有专利
上海市松江区广富林路4855弄20号、90号
专利分类项目
专利注册信息
初审公告期号 2014-01-27 初审公告日期 2019-12-13
注册公告期号 2019-12-13 注册公告日期 2019-12-13
专用权期限 2019-12-13 - 2029-12-10 专利类型 发明授权
代理组织机构 浙江千克知识产权代理有限公司 查看该机构代理的所有专利
专利介绍
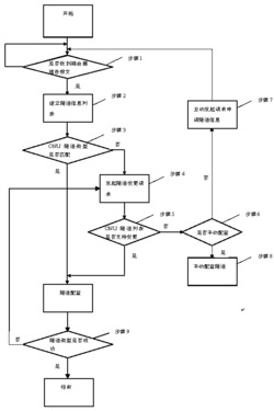
一种隧道代理方法,首先获取终端的隧道信息,并根据终端的隧道信息建立隧道列表,然后把隧道列表中支持的类型通过OAM交互传递给终端,终端根据终端内部的隧道能力,响应隧道配置状态信息,实现隧道自动配置。本发明可减少组网时的工作量,实现高效的网络构建。
法律进度
  • 2022-04-01 专利权的转移 登记生效日: 2022.03.21 专利权人由杭州吉吉知识产权运营有限公司变更为合肥小刺猬信息科技有限公司 地 ...

  • 2020-11-20 专利权的转移 登记生效日: 2020.11.10 专利权人由上海斐讯数据通信技术有限公司变更为杭州吉吉知识产权运营有限公司 ...

  • 2019-12-13 授权 ...

  • 2016-12-28 实质审查的生效 IPC(主分类): H04L 12/24 专利申请号: 201410039371.0 申请日: 2014. ...

  • 2014-04-30 公开 ...

同类专利

咨询该专利

您还可以
推荐专利
{{ v.name }}
取 消 确 定